寓小二
4.7.2 官方版- 软件大小:50.3 MB
- 更新日期:2020-01-22
- 软件语言:简体中文
- 软件类别:商业贸易
- 软件授权:免费版
- 软件官网:未知
- 适用平台:WinXP, Win7, Win8, Win10, WinAll
- 软件厂商:
软件介绍人气软件相关文章网友评论下载地址
寓小二是一款租房管理软件,可以帮助企业更好管理自己的业务,支持房源管理功能,在软件输入全部房源信息,将租赁价格已经户型输入到软件,当客户需要租赁的时候就可以在这款软件找到客户满意的户型,从而立即在软件上登记合同,将租户的信息输入到软件就可以完成合同编辑,从而在这款软件管理业务合同,软件也提供财务管理功能,可以在软件管理账单,可以查看房租,查看押金,可以对全年租赁信息统计;寓小二功能丰富,满足租房公司日常管理需求,如果你需要就下载吧!

软件功能
支持长短租结合、支持复杂运营场景
支持复杂租客合同及业主合同,按规则自动生成账单,30秒录入合同
支持多级组织架构,支付员工账号,股东账号,多个利润中心
支持集中式+分散式(整租+合租)联合管理
支持跨城市、连锁、万套规模房源运营
支持复杂业务权限分配,多人协同作业
支持微信公众号、品牌官网与系统后台的对接,完美实现租客端
支持租客微信前端、租客Web前端U风格自定义,增强企业形象
支持模块化按需配置,根据公寓需求自定义模块,即搭配标准模块+定制开发
支持智能硬件模块,深度集成多家主流智能硬件产品
实时同步房源到支付宝/58赶集等4大流量入口,更多流量入口开放中
实时同步数据至全终端设备,包括: Windows/mac/网页/i0/安卓、
软件特色
租客在线预定/管家新增预定撤销预定走扣款/部分退款/全额退款流程。签约走签约流程
包括退租退款、退租不退款、退租部分退款、退租并预约退款
续租的同时押金转移,新租约押金与老租约的押金差额自动体现在账单上
一个业主关联多套房源,一套房源关联多个租客,一个租客关联多个合同
租约可选择月租或日租创建,支持长短租结合
使用说明
1、打开寓小二就可以显示登录界面,将用户的账号输入

2、提醒功能,在软件界面查看当前的业务提醒,可以统计待收账单

3、提供查询功能,在软件界面查询你需要租的房屋,直接选择小区名字查询

4、查询结果在这里显示,相关的房间租赁金额以及明细内容在软件界面显示,点击一个房间查看详细内容

5、添加租房信息,在软件选择房源、设置起租时间、设置租金、设置押金

6、合同管理功能,在软件界面查看已经签约的合同,显示合同明细,也支持账单信息查看

7、财务审批功能,在软件界面输入期限查询财务数据

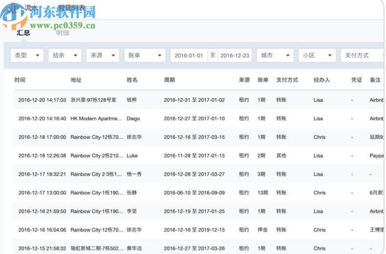
8、这里是流水账功能,可以直接查询对应的账单,显示账单租赁明细

9、提供丰富的报表,可以按照多种规则统计租房信息,可以统计全年财务数据

10、支持架构设计功能,在软件添加部门信息,添加员工信息

11、可以统计每个部门的人数,显示管理员、维修部、后勤部、财务部、销售部

12、权限设置功能,可以在软件勾选当前员工允许操作的内容,支持营业总表、财务报表、合同报表查看编辑

下载地址
-
寓小二 4.7.2 官方版
其他版本下载
- 查看详情寓小二 4.7.2 官方版50.3 MB简体中文20-01-22
- 查看详情华云房屋出租管理软件 1.0 官方版1.41 MB简体中文20-01-11
人气软件
75.9 MB
/简体中文
小红书电脑客户端14.6 MB
/简体中文
申通快递梧桐系统138.0 MB
/简体中文
source insight下载(附注册码)19.8 MB
/简体中文
新点造价软件145 MB
/简体中文977 MB
/多国语言
安能物流鲁班系统3 KB
/简体中文
新点清单造价软件134 MB
/简体中文
南京文交所钱币邮票交易中心交易客户端6.54 MB
/简体中文3 KB
/简体中文
相关文章
网友评论共0条

美团外卖商家版电脑版 4.5.0 pc版
好房通ERP门店版 17.1.8.28376 官方版
广东数字证书证联客户端 3.8.1.2 官方最新版
象过河进销存软件 6.6.6 免费版













精彩评论